金牌会员
已认?/p>
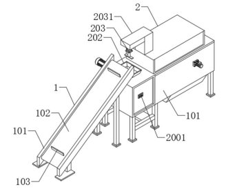
随着物流和包装行业的不断进步,粮食、饲料、淀粉、水泥及矿物等粉、粒状物体在日常运输中广泛采用了吨包袋进行包装。一般吨包在拆袋投料时,由人工进行吨包袋的拍打与清理,劳动强度大,粉尘外溢严重。降低该过程的工作强度和改善工作环境显得日益重要。针对吨包拆袋投料站的拆袋和卸料进行创新设计,可以降低现场操作的工作强度,改善工作环境,提高生产效率、/p>
针对上述吨包拆袋投料过程中存在的问题,骅沂机械积极研发创新,推出了拥有实用新型专利的一系列设备,包括拆包机、包装机、输送机、投料站及卸料站,旨在降低现场操作的工作强度,改善工作环境,并解决粉尘污染和物料残留浪费等问题、/p>
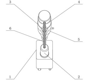
一、一种滚筒式拆包朹/span>
本实用新型提供一种滚筒式拆包机,涉及粉体工程技术领域,包括运输机构和拆包机构,拆包机构设置在运输机构的右侧、/p>
拆包机构包括拆包机本体,拆包机本体顶端靠近运输机构处设置有进料口,进料口的上方设置有第一液压杆,进料口的下方且位于拆包机本体的内部设置有滑槽,滑槽的内部设置有滑块,滑块的顶端设置有支撑台,支撑台顶端的左右两侧均设置有挡板,支撑台的左侧设置有第二液压杆,滑槽的下方设置有切割电机,切割电机的输出端设置有切割刀片,使得料包内的物料快速完全的脱离,提升了拆包机的工作效率,且有效的防止料带内留有残留,防止了资源的浪费、/strong>
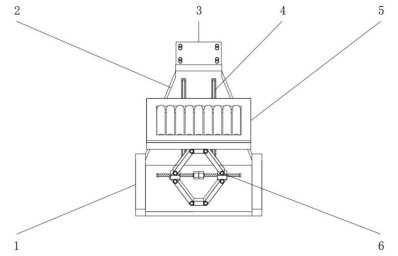
二、一种带有新型升降结构的包装朹/span>
本实用新型公开了一种带有新型升降结构的包装机,涉及包装机领域,包括底座,所述底座的后端外表面设置有提升背板、/p>
通过设置的推动式载物板包括载物框架、推动滚筒、前挡板、驱动轴、驱动带和驱动电机,在使用时可以对包装物品进行推动工作,降低工作强度的同时提高工作效率、/strong>
通过设置的辅助支撑组件包括底部支撑板、下支杆、内螺纹滑动块、上支杆、顶部支撑块、螺纹杆、可逆电机和旋转轴,在使用时可以对升降平台进行辅助支撑,提高提升稳定性的同时提高包装机使用的安全性,此设备不但结构简单,而且操作方便,带来更好的使用前景、/strong>
三、一种大袋和小袋包装均能使用的拆包机
本实用新型公开了一种大袋和小袋包装均能使用的拆包机,具体涉及拆包机技术领域,包括安装板,安装板底部均匀设置有多个支撑杆,多个支撑杆横截面形状设置为倒T形,安装板底部设置有电动滑轨,电动滑轨底部设置有电动滑块,电动滑块底部设置有电动葫芦,电动葫芦底部设置有抓板,抓板底部设置有存放池,存放池内部设置有两个调节机构、/p>
本实用新型通过设置调节机构,使得在通过该装置对不同规格包装袋进行拆包时,可以通过调节机构调节存放池的开口大小以满足拆包时的使用需求,因此不仅能够避免出现由于开口过大导致原料飞溅的现象出现,而且还能够避免出现开口过下导致原料存放速率较慢的现象出现、/strong>
四、一种气控真空输送机
本实用新型公开了一种气控真空输送机,涉及物料输送领域,包括输送控制主机,输送控制主机的上端外表面设置有真空泵、/p>
本实用新型所述的一种气控真空输送机,通过设置的提升组件包括驱动电机、内螺杆套筒、内螺纹提升环、安装支架和安装环,在使用时可以对真空输送机的使用高度进行调整,使其适用于不同的使用场景,具有较好的环境适用性,通过设置的防护检测组件包括外套筒、密封环、检测弯管、气密性检测器和预警灯+span style="color: rgb(0, 112, 192);">在使用时可以对真空输送机的密封状态进行保护,避免粉尘泄露的同时及时对泄露情况进行感知、/strong>
五、一种负压吸送式筛分投料竘/span>
本实用新型提供一种负压吸送式筛分投料站,涉及投料技术领域,包括安装固定底座,安装固定底座顶部的中心处设有料包处理装置,料包处理装置的左侧设有送料装置,料包处理装置的右侧设有负压机构,密封板可通过第二液压缸直接与密封连接槽相连接,形成密封空间,送料装置可以将料包直接运输至料包处理装置的内部,无需人工搬运至较高的位置,避免了现有的筛分投料站都需要配置专用的除尘器才能吸除投料时产生的粉尘,且现有的筛分投料站的高度较高,投料时工人需把粉状物料搬运到较高位置,这会导致在长时间工作下,影响工作人员的身体健康,且工作效率低下的问题、/strong>
六、一种翻转式粉料投料竘/span>
本实用新型提供一种翻转式粉料投料站,涉及卸料技术领域,一种翻转式粉料投料站,包括固定连接座,固定连接座的顶部设有第一旋转块,第一旋转块的顶部设有支撑横板,支撑横板的顶部设有支撑翻转调节装置,支撑翻转调节装置的连接处设有投料机构,履带轮在移动时可以提供更好的稳定性,支撑横板可通过第一旋转块进行任意角度的调节,进而的使得本装置更加具有灵活性,电机驱动转动轴带动连接杆进行翻转,进而带动投料机构进行翻转投料,避免了现有的翻转式粉料投料站在针对筒装粉料时,通常仍需人工进行投料,且翻转式粉料投料站的都是固定安装在某一工作区域,不具有灵活性的问题、/strong>
七、一种除尘式卸料竘/span>
本实用新型提供一种除尘式卸料站,涉及卸料技术领域,包括卸料站设备底座,卸料站设备底座的顶部设有卸料站本体,卸料站本体的左侧壁且位于中心处设有进气机构,卸料站本体的右侧侧壁上设有除尘出尘装置,卸料站本体的正面设有第二电机,第二电机的输出端设有旋转支撑杆,旋转支撑杆上设有破碎板,通过进气机构和除尘出尘装置的设计,两者之间相互配合使用,形成空气流通,高压气泵、第一风扇和第二风扇会将附着在料包上的大量灰尘吹走,避免了由于拆带卸料的过程不是在密闭环境下自动进行的,使得避在卸料过程中粉尘容易从投料口处飞出,卸料站的除尘性能差,这会导致危害工作人员的身体健康的问题、/strong>
骅沂机械部分产品展示
气动真空输送机
锂电池纳米材料负压系绞/p>
组合式卸料站
吨袋卸料竘/p>
小袋筛分投料竘/p>
全自动包装机
小结
上海骅沂机械设备有限公司是专业从事各类物料处理技术与工程设计、开发、推广与应用的科技型企业,致力于为食品,制药及化工行业客户提供各类粉料,固体类原料的处理系统及其相关的机械设备和系绞/span>,对物料特性的掌握和对物料处理工艺过程的全面了解是公司的长处。骅沂机械善于解决物料在卸料、输送、储存、称重计量、混合以及过筛、包装过程中存在的问题并提供最佳的解决方案和整体项目规划,目标是建设一?strong>无尘化,自动化和个性化的依据客户需求量体裁衣的交钥匙工程、/p>
公司引进欧洲发达国家的技术和高新技术产品,协同国内企业努力提高民族工业设备的技术含量和自动化控制水平。在产品的选择上,力求精益求精,并能代表当今世界上先进的生产技术和生产设备+span style="text-decoration: underline;">特别适用于制药、食品、化工、塑料、新能源等行业,均按GMP规范制造,获得FDA认证,属于具备国际领先水平的高科技产品、/p>
参考来源:
[1]赵峰?吨包拆袋投料站的创新设计与应?/p>
[2]爱企查、上海骅沂机械设备有限公司官网、粉体网企业展台




