中国粉体网讯近日,新三板创新层公司天石纳米(837392)获授权实用新型专利1项,新公布“审中”发明专?项,均为有一定创新性的碳酸钙深加工专业技术、/span>
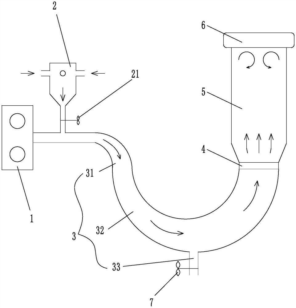
授权“一种用于纳米碳酸钙粉体均化的流态化装置“/strong>
据了解,专利权人为天石纳米,发明人是田伟、胡林昌、陈春玉、翁超。专利授权日?022??9日,专利类型为中国实用新型专利,专利申请号为CN202123157405.0、/p>
据专利摘要显示:一种用于纳米碳酸钙粉体均化的流态化装置,包括风机和对冲进料器,还包括蜗壳引流风道、多通道布料器和流化塔;风机的出风口下游端连接蜗壳引流风道的上游端,蜗壳引流风道的下游端通过多通道布料器连接至流化塔;对冲进料器的出料端开口于风机的出风口下游端的侧方;蜗壳引流风道两端高中间低,在蜗壳引流风道中部的最低点设有出料口;蜗壳引流风道的口径从上游小渐变的过渡到下游大、/p>

本实用新型的有益效果是:增加了时间延续和空间拓展结构,使粉体均化可以在更长的时间内、更大的空间内完成,因而均化的效果更加理想、/p>
审中“综合利用化学反应热生产轻质碳酸钙的低碳工艺方法“/strong>
据了解,专利权人为天石纳米,发明人是田伟、周新民、王澎、翁超。专利公开日为2022??4日,专利类型为中国发明专利,专利申请号为:CN202111435076.3
据专利摘要显示:一种综合利用化学反应热生产轻质碳酸钙的低碳工艺方法,包括如下步骤:A、煅烧石灰石,将煅烧产物固、气分离,得到氧化钙和含有热量Q1的窑气;B、以步骤A中得到的氧化钙为原料进行干法消化,得到消化反应热Q2和氢氧化钙粉料;C、将步骤B中得到的氢氧化钙粉料添加常温水制备成氢氧化钙浆液,并经调质除杂得到浓度和温度符合碳化要求的氢氧化钙生浆;D、将步骤C得到的氢氧化钙生浆与步骤A中得到的窑气反应,得到碳化反应热Q3、轻质碳酸钙熟浆以及碳化尾气;E、将步骤D生成的轻质碳酸钙浆液脱水后形成轻质碳酸钙湿粉,用Q1、Q2、Q3对轻质碳酸钙湿粉进行干燥,经粉碎分级,最终得到轻质碳酸钙产品。本发明可节能降耗减少尾气、/p>

审中“具有丛簇状分生结构的超高比表氢氧化钙粉体的制备方法“/strong>
据了解,专利权人为天石纳米,发明人是田伟、翁超汪丽红,专利公开日为2022??7日,专利类型为中国发明专利,专利申请号为:CN202111210967.9

据专利摘要显示:一种具有丛簇状分生结构的超高比表氢氧化钙粉体的制备方法,包括如下步骤:A、将生石灰破碎成颗粒状;B、将生石灰颗粒与适量消解液快速投入耐压反应釜;C、密闭耐压反应釜,使生石灰颗粒与消解液在密闭环境下消化;D、消化过程中生石灰颗粒与消解液剧烈反应并释放大量反应热,耐压反应釜内液态水剧烈气化,引起耐压反应釜内压力不断增加,直至消化反应体系压力达到峰值;E、此时迅速开启耐压反应釜底部的出料口,生成物在巨大压力作用下迅速从出料口爆炸喷射而出;F、以熟化罐对接收集从耐压反应釜出料口爆炸喷射出的生成物,并保温熟化,即得到具有丛簇状分生结构的超高比表氢氧化钙粉体、/p>

天石纳米碳酸钘/p>
阅读延伸:天石纳米——见微知著,睹始知终、/strong>
天石纳米公司的发展历史十分悠久,?997年生产生石灰用于农业、建筑业,到现在能生产食品级、工业级碳酸钙、脱硫脱硝、纳米碳酸钙、氢氧化钙、氧化钙,活性纳米碳酸钙、重质碳酸钙、牙膏用轻质碳酸钙,它走过了一段不平凡的历程、/p>
圣人言:见微知著,睹始知终。一个企业在成长过程中所经历的风雨,外人不得而知。但翻阅天石纳米公司这些年取得的科技成就,我们一样能“看见”它的未来。目前天石纳米公司拥有浙江省特种碳酸钙研究开发中?个,获得?0项国家各种授权,2010年以来至今已承担?0多项省级新产品的研发并实现转化?003年和2015年分别通过ISO9001质量管理体系和ISO22000食品管理体系认证?016年成功在“新三板”挂牌上市。至今,天石纳米公司前进的脚步依旧稳迅兼备?022??0日,天石纳米发布公告称,?022??日与光大证券签订北交所上市辅导协议??日,向浙江证监局提交了交所上市辅导备案申请材料??0日,浙江证监局对天石纳米报送材料予以受理、/p>
据粉体网编辑了解,天石纳米拥?条不同产品的自动化生产线,设计产?0万吨,现已形成年?0万吨系列产品的生产能力。在“双碳”大背景下,在碳酸钙行业高质量发展的趋势下,天石纳米同样很重视对精细化、低能耗生产工艺的优化,以及功能性产品的研发、/p>
编者按
今天,见微知著,睹始知终,是让心欣喜的天石纳米。明天,是否是其他家碳酸钙企业?粉体行业的进步,可以像一个颗粒一样细微,以此期待“聚沙成塔”,照亮未来、/p>
信息来源:天石纳米、粉体网、专利之星检索系统等
(中国粉体网编辑整理/昧光(/span>
注:图片非商业用途,存在侵权告知删除?/span>