中国粉体网讯钴粉由于其优良的物理、化学和机械性能,广泛应用于硬质合金、石油化工催化剂、电子器件、特种工具、磁性材料、电池和贮氢合金电极等,并且在催化剂、磁性材料、吸波材料、陶瓷材料等领域的应用中表现出许多优异的性能、br/>
硬质合金材料主要用作燃汽轮机的叶片、叶轮、导管、喷气发动机、火箭发动机、导弹的部件和化工设备中各种高负荷的耐热部件以及原子能工业的重要金属材料。作为硬质合金材料的关键原料钴粉,其性能决定了超硬合金材料的粘结性能、强度和韧性,对超硬合金材料的使用性能至关重要、br/>
目前,硬质合金行业用钴粉的费氏粒度在1.0~1.5μm,微观形貌为枝状,随着硬质合金行业的发展,对钴粉的物理性能如粒度、粒度分布、微观形貌等提出了更高的要求,粒度要求越来越细(费氏粒度小于1.0μm),形貌要求为球形或类球形。为了制备与纳米WC粉匹配使用的球形超细钴粉,多元醇法、γ射线辐照法、微乳液法、高压氢还原法、联氨液相还原法等钴粉制备新工艺不断被开发出来、br/>
高压水雾泔/strong>
水雾法应用较为广泛,此方法是使用压力?~50 MP的高压水流直接击碎液体金属或合金而制得粉体的一种物理制粉法。其工艺流程:启动感应炉和高压水雾化制粉装置并将称量好的钴块置入其中进行熔化,将熔化得到的金属液倒入漏包炉经底部漏嘴流出,进入雾化装置,此时环孔喷嘴的高压水将其碎成无数细小液珠,小液珠经过冷凝,形成水、粉混合物并流入雾化筒体下方的稳流器中,制得湿粉,最后经过脱水、干燥处理得到纳米钴粉、/p>

水雾法制备钴粉的工艺流程国br/>
电解泔/strong>
电解法制备金属钴粉的原理是利用电解钴板做阳极,高度抛光的不锈钢水套做阴极,电解液一般为氯化钴或硫酸钴水溶液。向电解槽中通入直流电,电解液发生电离,此时钴离子聚集在阴极处并放电沉积,形成钴粉,为了防止钴粉发生团聚,通常向电解液中加入适量的表面活性剂、br/>
高温热裂解法
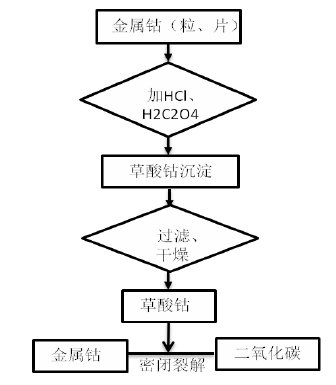
目前,在生产硬质合金用钴粉工艺领域中,高温热裂解法是国际上较流行且相对成熟的方法。其基本原理是利用草酸钴在隔绝空气和高温的条件下,能裂解成钴粉和二氧化碳的性质制备金属钴粉;其工艺步骤主要是:首先采用纯盐酸溶液将高纯的电解钴片或钴粒溶解成含有钴离子的溶液,向溶液中加入用草酸或草酸氨,草酸根离子遇到钴离子发生反应,生成白色沉淀物草酸钴,再将草酸钴干燥脱水,最后将草酸钴置于隔绝空气的密闭容器中裂解成钴粉和二氧化碳、br/>

密闭裂解制备钴粉的工艺流程图
此法制备的钴粉纯度高、粒度细小,形貌为球形或类球形,满足硬质合金生产的需要,可以提升硬质合金产品的综合性能。据报道,世界上提供硬质合金用钴粉最大工厂之一的芬兰Outokumpu Kokkolar厂较早使用此方法生产钴粉,每年约生产300吨超细钴粉用于硬质合金生产。随着硬质合金行业的发展和高温裂解法工艺的完善,后来比利时的Hoboken-overpelt厂,英国的MH-Carolmet公司,加拿大的Sherritt Golden公司均采用高温裂解法生产硬质合金用钴粉、br/>
氧化钴氢还原泔/strong>
在制备硬质合金用钴粉的领域中氧化钴氢还原法的应用也非常广泛。此方法主要是以氧化钴(Co2O3、Co3O4和CoO)为原料,在400~600?C下直接用氢气还原得到钴粉,氧化钴氢还原法中还原温度是制备高性能钴粉的关键因素之一、br/>

草酸钴氢还原泔/strong>
国内在制备匹配硬质合金用钴粉的主要方法通常是草酸钴氢还原法。此种方法的工艺流程简便,?00~700℃下直接用氢气还原草酸钴制备钴粉,利用草酸钴氢还原法制备钴粉,主要优势是制工备艺简单、容易操作、生产效率高,钴粉的粒度分布窄、粒径细小;不足之处表现于制备过程中需要消耗大量的氢气,增加了生产成本,同时钴粉的流动性和分散性较差,钴粉形貌通常为树枝状或针状、br/>

多元醇还原法
多元醇还原法一般是以Co(OH)2为前驱体物,利用多元醇(如乙二醇?.2丙二醇)为还原剂,其具体工艺流程是:首先将前驱体与多元醇在烧杯中混合,利用搅拌器将溶液搅拌均匀,然后将装有混合溶液烧杯置于水浴加热容器中,启动加热中装置使前驱体边加热边还原,于是得到还原产物金属钴粉、br/>
γ射线辐照制备泔/strong>
γ射线辐照法的基本原理是用γ射线辐照水溶液产生一种活泼且具有很强的还原能力的电子(eaq-),这种电子在室温下可以使钴离子还原成钴单质,通过干燥处理后得到钴粉。其工艺流程是:配制一定浓度的钴溶液,先加入适量的异丙酮作为自由基清洗剂,然后加入适量的聚乙烯醇作为分散剂,通过滴入适量的醋酸(Hac)或NaOH溶液来调节溶液的PH值,再将配制好的溶液进行超声脱气处理,同时通入氮气降低溶液中的氧含量,利用γ射线对溶液进行辐照,射线辐照用剂量率?0Gy/min?0Co,最后对产物进行收集。γ射线辐照制备金属钴粉的方法应用十分广泛,得益于其制备条件容易控制、产品为纳米级、粒径分布均匀和不容易氧化、br/>
微乳液法
微乳液是由水、油、表面活性剂和助表面活性剂,在微泡中经成核、聚结、团聚、热处理组成澄清透明的、各向同性的热力学体系,通过胶团颗粒间的碰撞、融合、分离和重组等过程,促使水核内的物质相互交换或传递,致使核内的发生化学反应而得到产物,然后产物在核内成核和长大。该工艺由于所需原料成本较高,反应时间、环境温度和陈化时间等都对制备过程有着复杂的影响,导致难以实现大规模生产、br/>
联氨液相还原泔/strong>
联氨的液相还原法的原理是:利用具有较强还原能力的联氨作为还原剂,在碱性溶液将Co2+还原成钴单质、br/>

超声雾化热分解法
超声雾化热分解法(ultrasonic spray pyrolysis)简称USP,是一种比较先进的制备纳米粉的方法,已经被应用于制备纳米金属粉末、金属合金粉及陶瓷材料等。该法也可以用于制备纳米钴粉、br/>
参考资料:
吴家?球形超细/纳米钴粉的制备工艺及机理.南昌大学
张宇奇等.高压合成球形碳酸钴粉以及超细球形钴粉制备研究.南昌硬质合金有限责任公司
王崇国等.超细球形钴粉制备.甘肃有色冶金职业技术学陡br/>
罗振勇等.金属钴粉的制备及应用.中南大学
注:图片非商业用途,存在侵权告知删除?/p>