登录
微信
关注微信公众叶/span>
客户服务
2802
2024-12-07
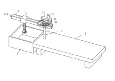
中国粉体网讯据国家知识产权局12?日信息显示,河南科美磨料磨具有限公司取得一项名为‛span style="color: rgb(192, 0, 0);">一种金刚石切割片上料装?/strong>”的实用新型专利,授权公告号CN222098972U,申请日期为2024?月、/p>

本实用新型属于金刚石切割片上料技术领埞/strong>,尤其为一种金刚石切割片上料装置,包括工作台、料箱、支撑柱、升降支撑组件、条形板、调节组件一、滑块、调节组件二、调节组件三、转向组件、安装盒、抽风机和空心盒;所述料箱设置在工作台的一侧,所述支撑柱固定安装在工作台顶部,所述条形板上固定安装有套筒,且套筒活动套设在支撑柱上,所述升降支撑组件设置在支撑柱的顶端并与条形板相连接,所述转向组件设置在升降支撑组件上并于套筒相连接,所述滑块滑动安装在条形板上,所述调节组件一设置在条形板上并与滑块相连接、/p>

该金刚石切割片上料装置设计合理,操作方便、工作效率高、上料精准度高等多种优点,具有很高的实用价值和市场推广价值、/p>
关于科美
河南科美磨料磨具有限公司位于郑州市上街区,成立于2012年,注册资金100万元、span style="text-decoration: underline;">公司致力于优质砂轮、高档油石、金刚石工具以及其他多种砂轮、切割片和磨具磨料等产品的生产加工和销售、/span>
公司可提供的产品广泛,质量过硬,还可以根据用户的特殊需求针对性生产和个性化服务,为客户量身定制切割、打磨、抛光(简称切、磨、抛方案。部分产品产品远销欧美,南美,中东,东南亚等海外地区、/p>

河南科美部分产品
参考来源:国家知识产权局,河南科美官罐/p>
(中国粉体网编辑整理/轻言(/p>
注:图片非商业用途,存在侵权告知删除?/p>