登录
微信
关注微信公众叶/span>
客户服务
4016
2024-12-13
中国粉体网讯
国机金刚石:《热沉用金刚石片》团体标准成功立项!
近日,中国电子材料行业协会组织的《热沉用金刚石片》团体标准立项评审会在郑州召开,由国机金刚石主导的《热沉用金刚石片》团体标准成功立项。该标准标准技术内容达到国内领先水平,填补行业标准空白,引领行业高质量发展、/p>

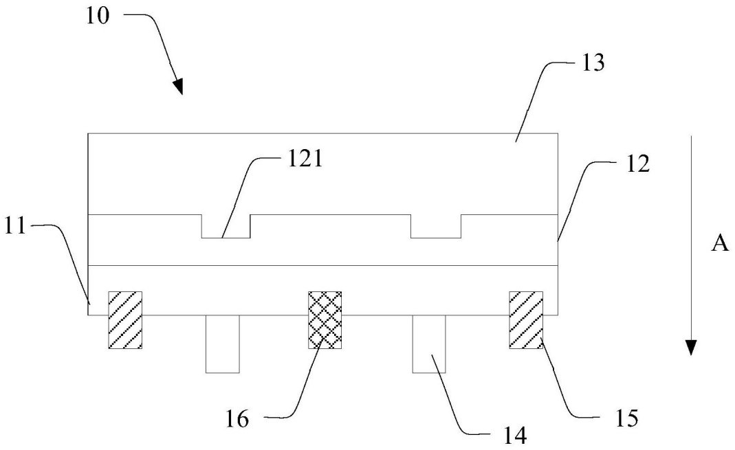
华为持续发力,金刚石散热新突破!
12?日,华为技术有限公司公布一项名为“一种半导体器件及其制作方法、集成电路、电子设备”的发明专利。在该半导体器件中增加金刚石散热层与钝化层的接触面积,改善金刚石散热层与钝化层之间的结合力,并且通过减小金刚石散热层与栅极之间的热扩散距离,提高半导体器件的散热效率、/p>

10-半导体器件?1-第一外延层?2-钝化层?3-金刚石散热层?/p>
14-栅极?5-源极?6-漏极?21-凹槽
1.21亿美元!金刚石冷却颠覆GPU散热
近期,美国商务部与Akash Systems公司签署了一份不具约束力的初步条款备忘录(PMT)。此项资金加上Akash、风险投资公司和其他私人投资者的资金,将达到合计1.21亿美元的投资。通过这项投资,政府将帮助Akash公司建造一个半导体制造工厂,以大规模制造各种金刚石冷却基板、设备和系统、/p>

又一金刚石企业获千万元融资!
近期,南京瑞为新材料科技有限公司(以下简称“瑞为新材?宣布完成数千万元A+轮融资。本轮融资由毅达资本领投,南京市创新投资集团跟投,资金将用于金刚石系?铝系列热沉产线扩厂、/p>

英国研制出首款碳-14金刚石电池,可运行千年不更换
英国原子能管理局4日宣布,英国原子能管理局 (UKAEA) 和布里斯托大学的科学家和工程师宣布成功制造出世界上第一块碳-14金刚石电池。这种新电池技术由于使用了放射性同位素?14,可以提供数千年的可靠电源。这一突破有可能彻底改变从医疗设备到太空探索的一系列应用、/p>

金刚石存数据?中国科学家新突破!
中国科学技术大学中国科学院微观磁共振重点实验室杜江峰、王亚、夏慷蔚等人在光学信息存储领域取得重要进展,提出并发展基于金刚石发光点缺陷的四维信息存储技术,有望为“数据大爆炸”信息时代所亟需的新一代绿色高容量信息存储提供解决方案、/p>

近期政策
12?日起实施!加强超硬材料等相关两用物项对美国出叢/strong>
根据《中华人民共和国出口管制法》等法律法规有关规定,决定加强相关两用物项对美国出口管制、/p>
一、禁止两用物项对美国军事用户或军事用途出口、/p>
二、原则上不予许可镓、锗、锑、超硬材料相关两用物项对美国出口;对石墨两用物项对美国出口,实施更严格的最终用户和最终用途审查、/p>

12?日起实施!金刚石砂轮出口退税率下调?%
近期,财政部、税务总局下发2024年第15号公告《关于调整出口退税政策的公告》。其中,粘聚合成或天然金刚石制的砂轮、粘聚合成或天然金刚石制的其他石磨、石碾及类似品等磨具产品出口退税率?3%下调?%,降幅超过三成。该公告?024?2?日起实施、/p>

涉及金刚石材料!四部门联合发布出口管制清協/strong>
近期,商务部、工业和信息化部、海关总署、国家密码局联合发布关于《中华人民共和国两用物项出口管制清单》的公告。六面顶压机专用关键零部件、金刚石窗口材料、用六面顶压机合成人造金刚石单晶或立方氮化硼单晶的工艺技术等金刚石材料产品、设备及技术被列入出口管制清单、/p>

参考来源:
中国电子材料网,中国粉体网,国家知识产权局,南京瑞为新材官网,毅达资本,U.S. Department of Commerce,Akash Systems官网,中国核技术网,布里斯托大学官网,中国科学技术大学官网,财政部,商务?/p>
(中国粉体网编辑整理/轻言(/p>
注:图片非商业用途,存在侵权告知删除?/p>