资讯

  • 资讯
  • 价格
  • 报告

客服热线
18669518389

您所在的位置9/div> 中粉资讯 > 软磁材料价格行情
寻找“国产好粉材”之悦安新材羰基铁粉
10095 2023-05-24

中国粉体网讯



【编者按】粉体材料工业属于支撑国民经济发展的基础性产业和赢得国际竞争优势的关键领域,近些年,国内粉体材料工业转型升级成效显著,综合实力稳步增长,国际竞争力持续增强,一些企业长期专注于粉体材料领域、生产技术工艺国际领先、从而成为全球细分市场领导者的典范,有效改善了国内高端粉材的紧缺局面,提升了核心工艺技术与装备的自主可控水平以及关键战略资源的保障能力。中国粉体网通过寻找“中国好粉材”这一活动,以期促进相关企业更好发挥示范作用,引领中国粉体工业的发展,并让“好粉材”发出它们更大的光彩、/p>


1羰基铁粉:最好的粉末冶金添加剁/strong>


定义:羰基铁粉是以海绵铁、一氧化碳为主要原材料合成羰基铁,用羰基络合物热分解工艺技术生产的微米级、亚微米级单质元素纯铁粉,是一种多功能超细金属粉体材料。羰基铁粉是目前能够采用工业化技术生产的粒度最细、纯度最高、球形外观最好的铁粉、/p>

特点:羰基铁粉具有独有的生产工艺,不含其它有害杂质金属,具有纯度高、粒度细?0微米以下)、洋葱层状微细结构、球形表面光滑流动性好、反应活性大等特性,具有优异的磁性能等特殊的功能,应用范围广泛、/p>


应用场景:羰基铁粉主要用于粉末冶金、软磁材料、磁流体抛光、金刚石工具、雷达吸波材料、硬质合金、化学催化合成、防伪涂料、药物配方(营养补铁、多种维他命剂)、食物添加剂及动物饲料等领域?nbsp;


粉末冶金方面,羰基铁粉不仅能够提高产品的成品率和强度,而且能够使产品的寿命延长5-10倍,因此被认为是最好的添加剂之一、/p>



生产企业:目前,我国羰基铁粉主要生产企业有悦安新材、江苏天一、陕西兴化化学股份有限公司、吉林卓创新材料有限公司、江油核宝纳米材料有限公司及金川集团有限公司等、/p>


在世界范围内,除中国外,羰基铁粉生产厂家主要有德国巴斯夫、美国国际特品公司、俄罗斯Sintez-CIPLtd.等、/p>


2羰基铁粉行业集中度提升,需求规模扩?/strong>


中国粉末冶金行业目前已进入发展快车道。羰基铁粉是粉末冶金机械制造工业不可缺少的金属原料,采用羰基铁粉制造的粉末冶金零部件应用广泛,具有良好经济效益、/p>


2015年之前,全国羰基铁粉行业市场分布格局中,德国巴斯夫市占率高达80%,而国内企业市占率合计仅有20%。随着国内羰基铁粉行业发展,行业进入企业增多,?021年,全国羰基铁粉行业重构新市场格局,外国企业占据国内市场份额的10%,而我国本土企业市占率达到90%、/p>


目前,我国羰基铁粉市场竞争程度不断加剧。综合竞争力较弱的中小企业不断退出,而拥有品牌、规模、客户、渠道和资金等优势的头部企业将占领更多市场份额,未来行业集中度将持续提升、/p>


此外,在未来在工艺技术提升、下游应用场景不断广泛的趋势下,我国羰基铁粉需求规模将逐步扩大、/p>


3悦安新材:羰基铁粉全球主要供应商之一


悦安新材是一家专注于超细金属粉体新材料领域的高新技术企业,主要产品为羰基铁粉系列产品、雾化合金粉系列产品、软磁粉系列产品、金属注射成型喂料系列产品、吸波材料系列产品等5大类。在超细羰基铁粉领域居于国内市场重要地位,为羰基铁粉细分市场的全球主要供应商之一、/p>


公司自成立以来,一直专注于微纳金属粉末的研究与生产,在行业中是少有的同时拥有羰基铁粉和雾化合金粉研发经验和技术积累的企业,拥有独立自主的知识产权体系?nbsp;

作为国内羰基铁粉领域的龙头企业,公司荣获工信部第六批制造业单项冠军企业、/p>


第六批制造业单项冠军名单(单项冠军示范企业)


悦安新材生产的羰基铁粉产品,其颗粒直径在微米级,其微结构能够控制在纳米级。目前,悦安新材具有自主知识产权的产品微米级羰基铁粉被评为“江西省自主创新产品”,获江西省科技进步奖三等奖一项。公司生产的T6系列牌号产品粉末细粒度更低,粒径范围能同比全球羰基铁粉行业龙头巴斯夫降低20%左右,粉末细度更低可以降低制成超微电感的功耗、/p>


悦安新材具备羰化、雾化技术的协同生产、市场优势,有望通过在羰化工艺的进一步降本增效,增加客户对公司产品的黏性,同步提高羰化、雾化产品的业务市场、/p>

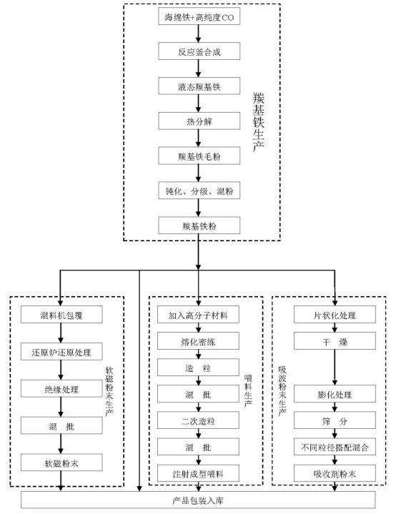
悦安新材羰基铁粉的产品工艺流稊/p>


近年来,悦安新材的羰基铁粉产量整体呈增长态势?022年悦安新材羰基铁粉产量达?971.38吨、/p>


制图:中国粉体网


据公开报道,悦安新材已开发出低成本的压制成型用羰基铁粉并交付部分客户进行开发测试。若低成本羰基铁粉得以通过客户验证并顺利量产,有望打开部分中端压制成型市场,为羰基铁粉市场创造新的增长点、/p>


在接受调研时,悦安新材表示,2023年羰基铁粉新产能计划释放2000吨,预计上半年处于爬坡释放的过程、/p>


4结语


羰基铁粉是粉末冶金机械制造工业不可缺少的金属原料,采用羰基铁粉制造的粉末冶金零部件应用广泛,具有良好经济效益。近年来,我国粉末冶金行业持续稳定发展,未来羰基铁粉的市场需求规模也将不断扩张、/p>


作为羰基铁粉行业龙头企业,悦安新材围绕提升核心竞争力,进一步深入相关技术研究和为规模化生产提供成熟的先进技术、工艺及其技术产品。公司积极探索产业链下游新产品、新技术需求,以市场为导向,充分发挥自身优势,在羰基铁粉等强势领域开展研究,并延伸至企业短板,补充空白领域、/p>


【寻找“中国好粉材”活动简介【/p>

为推动国产高端粉材发展,提升高端粉体材料进口替代,宣传和推广国产优秀好粉材及研发单位,让更多用户了解和使用国产好粉材,寻找“中国好粉材“活动应运而生,活动由中国粉体网主办、北京粉体技术协会协办,主题为助力高端粉材研发创新行动。欢迎实力企业(产品市占率全球前列、取得丰富的创新技术成果)自主申报,申报资料请发送到邮箱:cnpowder@163.com。主办方将依托线上线下宣传资源,帮助企业营销拓客,助力企业品牌推广,提升企业的国际知名度、/p>


参考来源:悦安新材招股说明书、悦安新材年报、悦安新材官网、智研咨询等

(中国粉体网编辑整理/星耀(/p>

注:图片非商业用途,存在侵权请告知删除!