11197
2018-12-10
中国粉体网讯玻璃不仅是一种透明材料,且具有独特的透明性。汽车窗户上的玻璃、写字楼外墙或是精品店货架上的玻璃杯等,玻璃在我们的生活的不同领域发挥着重要的作用、br/>

玻璃建筑/国家大剧陡/p>
什么是浮法玻璃
浮法玻璃是因玻璃液漂浮在熔融金属表面获得抛光成型而得名的,是熔融的玻璃液从熔窑内连续流入充有保护气体(N,和H2)的锡槽内漂浮在金属锡液面上,经过摊平、抛光形成厚度均匀、两表面平行、平整和抛光的玻璃带的玻璃,是平板玻?板状的硅酸盐玻璃)的一种、/p>
浮法玻璃的分籺/strong>
根据国家标准《GB11614-2009平板玻璃》中平板玻璃的分类,浮法玻璃按颜色属性分为无色透明浮法玻璃和本体着色浮法玻璃;按外观质量分为合格品、一等品和优等品;按公称厚度分为2mm?mm?mm?mm?mm?mm?0mm?2mm?5mm?9mm?2mm?5mm、/p>
浮法玻璃的原斘/strong>
目前,我国浮法玻璃企业通常使用的原料主要包括石英砂(硅砂)、长石、白云石、石灰石、纯碱、芒硝、碳粉等、/p>
硅质原料是玻璃制造中最主要的用量最大的原料,它主要引入玻璃成分中的SiO2。天然硅砂也叫石英砂,硅砂是配合料中最难熔化的原料。其颗粒的大小、粒度分布,甚至颗粒的形状对于配合料的混均、分聚、熔化和均化都有重要的影响、/p>
当玻璃配合料中由硅质原料引入的Al2O3不能满足玻璃成分需要时,一般就用长石来补充、/p>

玻璃建筑/巴黎卢浮宫金字塔
浮法玻璃的生产过稊/p>
由加工合格的各种原料按照配方制备的配合料经熔化、澄清并冷却?150~1100°C左右的玻璃液,通过与锡槽连接的流道及深入锡槽内的流槽,连续流入锡槽内并漂浮在相对密度大的锡液表面上,在自身重力、表面张力、拉边机以及过渡辊台拉力的共同作用下,玻璃液在锡液面上铺开、摊平、拉?积厚),成型为上下表面平整的玻璃带,在锡槽尾部外过渡辊台及与之连接的退火窑传动辊的牵引下,被引上过渡辊台,传送入退火窑,进退火、切裁,就得到了浮法玻璃产品、/p>
浮法玻璃化学成分
浮法玻璃化学成分基础系统为Na-Ca-Si三元系统,满足三个要求:
(1)产品的使用要求;(2)生产工艺要求?3)生产成本要求、/p>
浮法玻璃的化学成分主要包括:二氧化硅(SiO2)、氧化钠(Na2O)、氧化钙(CaO)、氧化镁(MgO)、氧化铝(Al2O3)、氧化铁(Fe2O3)等、/p>
基本含量:Na2O?2%~15%;CaO?%~12%;SiO2?9%~73%
浮法工艺的优缺点
优点:
(1)产品质量好,如上下表面平整、互相平行、透光度高等、/p>
(2)产量高,浮法玻璃的产量主要取决于玻璃熔窑的熔化量和玻璃带成型的拉引速度,而且其板宽加大也比较容易、/p>
(3)品种多,用浮法可以生?.55~25mm的优质平板玻璃,供各种用逓同时,浮法还可以生产各种本体着色和在线镀膜玻璃、/p>
(4)易于科学化管理和实现全线机械化、自动化,劳动生产率高、/p>
(5)连续作业周期长,有利于稳定的生产、/p>
缺点9/strong>
基建投资和占地面积比较大,同一时间里只能生产一种厚度的产品,偶然事故可能造成全线停产,因此必须要求严格的科学管理制度,使全线的人员和设备、器件、物料都保持良好状态、/p>

玻璃建筑/布拉格舞蹈之宵/p>
浮法玻璃熔制技术工艺流稊/strong>
浮法玻璃的熔制过程是将合格的配合料经过高温加热形成均匀、纯净、透明并符合成型要求的玻璃液的过程,是浮法玻璃制造过程中的主要过程之一。熔制速度和熔制的合理性对玻璃的产量、质量、合格率、生产成本、燃料消耗和池窑寿命等影响很大、/p>
玻璃熔制工艺原理
根据熔制过程中的不同特点,从加热配合料到最终成为符合成型要求玻璃液的过程,可分为五个阶段,即硅酸盐形成阶段、玻璃液形成阶段、玻璃液澄清阶段、玻璃液均化阶段和玻璃液冷却阶段。直观地,也可分为配合料堆的反应烧结阶段;硅酸盐形成及其熔化物熔化阶段,主要是残余石英砂溶解于已形成的硅酸盐中;澄清消除气泡阶段,主要是降低各种气体在玻璃液中的过饱和程度;逐渐冷却至成型温度阶段、/p>
影响浮法玻璃熔制的因紟/strong>
1、配合料化学组成、/p>
2、原料性质、/p>
3、配合料的调制、/p>
4、加料方式、/p>
5、熔制的温度、/p>
6、窑内压力、气氛、玻璃液面以及泡界线是否稳定、/p>
7、熔窑耐火材料、加热燃料的种类及质量、/p>
8、窑炉结构及搅拌器等辅助设施的应用、/p>
9、熔窑的自动化程度等、/p>
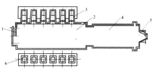
浮法玻璃熔窑设备

1-投料口;2-熔化部;3-小炉?-冷却部;5-流料口;6-蓄热宣/p>

1-小炉口;2-蓄热室;3-格子体;4-底烟道;5-联通烟道;6-支烟道;7-燃油喷嘴
参考资料:
百度文库.浮法玻璃生产工艺流程
浮法玻璃熔窑的结枃/p>
图片来源9/p>
百度图片
想要了解更多内容,请关注后续报道!
2024-12-20
2024-11-26
2024-10-30
2024-06-03
2024-04-12
2024-02-28
2024-01-31
2024-01-06