2916
2024-04-18
中国粉体网讯2024??5日,连云港市生态环境局对连云港弘涛石英制品有限公司年产5800吨石英砂技改项目环境影响受理情况进行了公示、br/>
据了解,连云港弘涛石英制品有限公司成立于2005年,位于江苏省连云港市东海县平明镇工业集中区,现有“年?800吨石英砂生产项目”于2005?1?5日取得东海县环保行政部门审批意见+strong>现有项目环评中生产工艺为:石英砂原?挑?粉碎-筛分-纯水水洗-脱水-烘干-冷却-筛分-磁?成品)+/strong>?013?月投入生产运?当时根据市场需求项目实际生?strong>工艺调整丹石英砂原?挑?粉碎-筛分-成品)+/strong>并于2014??日通过环保“三同时”验收、/p>
2020?月,弘涛公司对原有“年?800吨石英砂生产项目(石英砂原?挑?粉碎-筛分-成品)”进行技术升级改造,增加“浮选一清洗一烘干一二次筛分一磁选”等工艺,未涉及酸洗工艺+/strong>年产5800吨石英砂产能不变。该技改项目于2021??日取得环评批复。但由于疫情原因,该技改项目一直未建设、/p>
项目产品方案一览表

现随着时代发展,市场对石英砂的产品要求更高,该公司现有的生产工艺不能满足客户对产品的要求。为生产纯度更高的石英砂+strong>弘涛公司拟投?000万元对现有生产线进行技术升级改造,主要增加焙烧、水淬、酸洗、水洗、浮选等工艺+/strong>即新购置鄂破机、焙烧炉、制砂机、反应釜等国产设备,新增建筑面积960 平方米、/p>
项目主要原辅材料消耗表

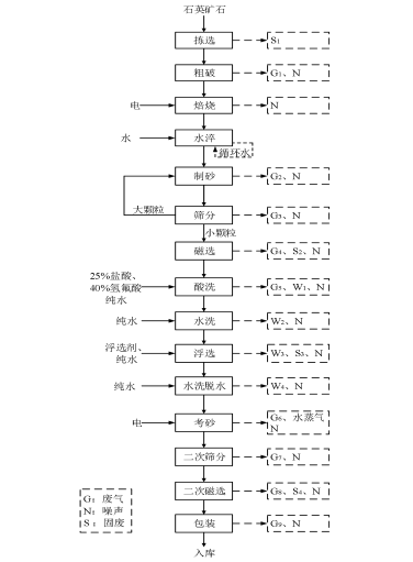
该项目以纯度?9.8%的石英矿石为原料,生产高纯石英砂,但技改后的具体纯度是多少,尚未透露。技改后工艺丹石英石→粗破→焙烧→水淬→制砂一筛分→磁选→酸洗(在反应釜中酸?→水洗→浮选脱水→烤砂→筛分→磁选→包装入库:同时对现有公用工程进行适应性技术改造,建设污水处理竘生产废水经过处理达标后接入工业污水处理厂。该项目建成后可形成年产5800吨石英砂的生产能力,产能不变、/p>
现有项目工艺流程国/p>

本次技改项目工艺流程图

来源:连云港市生态环境局
(中国粉体网编辑整理/九思)
注:图片非商业用途,存在侵权请告知删除!
2025-11-11
2025-11-11
2025-11-11
2025-11-11
2025-11-11
2025-11-11
2025-11-11
2025-11-08