3825
2024-05-14
中国粉体网讯



欧晶科技石英坩埚相关专利汇怺/span>
2022-2024欧晶科技石英坩埚专利介绍
一种自动修复石英坩埚外径的装置

申请日:2022.09.16
本发明公开了一种自动修复石英坩埚外径的装置,包括:限位承载组件,其上预限位放置有待修复的石英坩埚;传送装置,用于间隔传送所述限位承载组件;三维驱动组件,其具有一三维驱动端;沿传送装置传送方向分布的两个微进给驱动组件,且自前向后依次为第二微进给驱动组件和第一微进给驱动组件,所述第二微进给驱动组件和第一微进给驱动组件固定于所述三维驱动端上;以及第一角磨机和第二角磨机,其中所述第一角磨机固定于第一微进给驱动组件的输出端,所述第二角磨机固定于第二微进给驱动组件的输出端,且对石英坩埚的外径进行打磨修复时,先利用所述第一角磨机进行一次初步打磨和测量,之后再利用第二角磨机进行逐步打磨、/p>
坩埚内壁抛光设备

申请日:2022.08.31
本发明公开了一种坩埚内壁抛光设备,其包括机架、坩埚旋转机构和抛光机、/p>
优点:本申请利用坩埚旋转驱动使坩埚绕圆周方向旋转,同时通过滑动座控制抛光机沿轴向向外移动,以此实现对坩埚内壁的打磨,进而去除其内壁的微气泡层,进而解决坩埚使用过程中气泡破裂、石英颗粒污染硅液的问题,提高成晶品质,延长坩埚的使用寿命。定位块和上定位辊筒与下支撑辊筒之间的相对距离均可以调整,可适用于不同规格的坩埚,适用范围广、/p>
一种石英坩埚熔制炉电极粉尘吹收装置

申请日:2023.10.09
本实用新型公开了一种石英坩埚熔制炉电极粉尘吹收装置,其包括熔制炉、电极棒、过水板、吹风总管、吹风支管、吹风毛细管和负压风机,所述吹风毛细管通过支撑杆固定在所述熔制炉的顶部,且所述喷嘴置于所述通孔的边缘,三对所述吹风毛细管呈辐射状排布;所述负压风机进风口斜向下置于所述喷嘴与所述电极棒之间的上方、/p>
优点:本实用新型通过设置辐射状排布的吹风毛细管,保证了在吹风时电极棒的消耗均匀,通过将喷嘴设置成出风口倾斜朝上的鸭嘴型空气喷嘴,增加了吹风的覆盖面积,同时,向上吹风也便于粉尘被负压风机收集,提高了粉尘的吹收效率,降低了粉尘落入熔制炉的风险、/p>
一种石英坩埚模具移运装?/strong>

申请日:2023.11.01
本实用新型公开了一种石英坩埚模具移运装置,其包括两个并排设置的移动底座,在每个所述移动底座上均设置有插槽;在每个所述移动底座的顶部分别固定有一个支撑座,在所述支撑座上设置有与石英坩埚模具下部一侧相匹配的凹槽;两个所述支撑座上的所述凹槽相对设置,石英坩埚模具活动放置在两个所述凹槽的内部、/p>
优点:通过支撑座对石英坩埚模具起到支撑和固定的作用,并且,在支撑座的底部设置了与货叉配合的移动底座,进而实现了石英坩移运的稳定性和安全性,降低了操作风险,有助于提高更换模具的效率、/p>
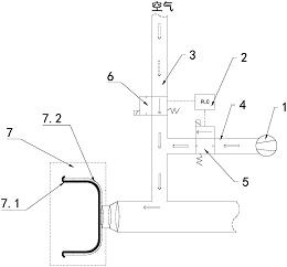
一种石英坩埚非接触式脱模装?/strong>

申请日:2023.05.10
本实用新型公开了一种石英坩埚非接触式脱模装置,包括空气压缩机、PLC控制器;空气压缩机的出气口与石英坩埚模具的工艺管路通过压缩空气管路连通,压缩空气管路上设置有第一电磁阀;第一电磁阀与PLC控制器电连接,PLC控制器控制第一电磁阀供给固定频率的脉冲气流;石英坩埚模具的工艺管路上设有第二电磁阀,第二电磁阀与PLC控制器电连接、/p>
一种石英坩埚熔制过程中的石墨电极补氧及除尘装置

申请日:2023.05.17
本实用新型公开了一种石英坩埚熔制过程中的石墨电极补氧及除尘装置,包括压缩空气源、稳定补氧管路、除尘管路及吹气管;压缩空气源分别与稳定补氧管路及所述除尘管路的进气口连通,在稳定补氧管路及所述除尘管路的进气口处均设有流量调节阀;在稳定补氧管路的靠近出气口的管壁上开设有除尘气进口,除尘管路的出气口与除尘气进口连通,稳定补氧管路的出气口与吹气管的进气口连通、/p>
优点在于?、在石英坩埚的熔制过程中对石墨电极采用补氧管路和除尘管路的双管路设置,有效解决了气流过大对电流的干扰和电极消耗过大及气流过小起不到除尘作用的问题?、在对石墨电极除尘的过程中,利用气囊的收缩力增强气体的冲击力,使得除尘效果更好、/p>
一种坩埚成型棒调节控制机构

申请日:2022.07.04
本实用新型公开了一种坩埚成型棒调节控制机构,包括坩埚制造机本体,行程架,第一滑块,第一丝杠,主轴,纵轨,第二丝杠,第二滑块,滑块调节件,插板,坩埚成型棒,插接件;所述坩埚模具的底部设有支撑坩埚模具的辊道;所述底座的中部开设有槽口;所述底座中部对应槽口内设有行程架;所述行程架的末端一侧固定有第一滑块;所述第一滑块的中部穿设有丝杠;所述第一丝杠通过第三驱动电机驱动,并带动行程架往复移动;所述行程架的中部与主轴的首端固定;所述主轴的首端竖直固定有纵轨;所述行程架的中部与主轴的首端固定;所述主轴的首端竖直固定有纵轨;所述纵轨内设有第二滑块;所述第二滑块的中部穿设有第二丝杠;所述第二滑块的对应坩埚模具的一侧固定有滑块调节件、/p>
一种石英坩埚熔制模具底部的布料装置

申请日:2022.08.09
本实用新型公开了一种石英坩埚熔制模具底部的布料装置,其包括“L”的手持杆、盛料斗、第一挡料板和第二挡料板;在手持杆一端通过连接杆固定有盛料斗,在盛料斗的底部开设有若干个布料孔,在盛料斗的下方活动设置有相互接触的第一挡料板和第二挡料板、/p>
坩埚定位旋转机构

申请日:2022.08.31
本实用新型公开了一种坩埚定位旋转机构,其包括一对下支撑辊筒、一对上定位辊筒和旋转驱动,在机架上设置有驱动任意下支撑辊筒旋转的旋转驱动;一对上定位辊筒通过悬挂架分体设置在一对下支撑辊筒的上方,且在悬挂架上设置有驱动一对上定位辊筒上下移动的第二升降驱动、/p>
一种石英坩埚安全破碎装?/strong>

申请日:2022.04.13
本实用新型公开了一种石英坩埚安全破碎装置,包括箱体,料斗,挡杆,第一转轴,第二转轴,敲击杆,支撑架,第一齿轮,第二齿轮,第三齿轮,第四齿轮,链条,第一半齿轮,第二半齿轮,驱动电机,料斗,第一同步轴,第二同步轴,摆动滑杆,连杆,滑块;所述箱体包括破碎腔、下料腔、收集腔三个腔室;所述破碎腔上设有进料口;所述破碎腔与下料腔之间间隔排列有挡杆;所述挡杆的下方设有第一转轴;所述第一转轴的轴身排列有敲击杆,且敲击杆交错排列在挡杆的间隙内;所述第一转轴与箱体活动连接;通过该破碎装置为石英坩埚破碎提供了破碎环境,降低操作风险,利用驱动电机和左右摆动式旋转机构模拟敲击,将坩埚打成碎片并集中放置,提高处理效率、/p>
参考来源:国家知识产权局
(中国粉体网编辑整理/初末(/p>
注:图片非商业用途,存在侵权告知删除?/p>