认证信息
高级会员
8平/div> 称:
永嘉县英科泵阀有限公司.
证:工商信息已核宝br /> 访问量:852949
证:工商信息已核宝br /> 访问量:852949
手机网站
扫一扫,手机访问更轻杽/div>
产品分类
定制加工仵/a>
D43H手柄式硬密封蝶阀
D643H硬密封气动蝶阀
D371X对夹式蜗轮传动软密封蝶阀
TD41W手柄操作通风蝶阀
D343H涡轮硬密封蝶阀
XD371消防专用信号蝶阀
CS16H-16C热静力膜盒式蒸汽疏水阀
CS46H-16C热静力膜盒式蒸汽疏水阀
粉体输送泵
产品简今/div>
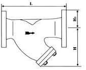
一?/strong>Y型蒸汽过滤器产品概述9/strong>
Y型过滤器是输送介质的管道系列不可缺少的一种装?通常安装在减压阀、泄压阀、定水位阀或其它设备的进口端,用来消除介质中的杂质,以保护阀门及设备的正常使用。该过滤器具有结构先进,阻力小,排污方便等特点。适用介质可为水,油、气。可按用户要求制作滤网,其外型基本相同(Y型),内部件全部采用不锈钢,坚固耐用。当需要清洗时,只要将可拆卸的滤筒取出,去除滤出的杂质后,重新装入即可,使用维护极为方便。该过滤器体形小、滤眼细、阻力小、效果高、安装检修方便、成本低、并排污时间短,对一般小型号者,只需5-10分钟。一般通水网为18-30?cm2,通气网为40-100?cm2,通油网为100-300?cm2、/p>
二?/strong>Y型蒸汽过滤器主要材料9/strong>
体材?/span> |
碳钢WCB 黄铜B62 |
不锈?04?16?16L |
滤框滤网材质 |
不锈?04?16?16L |
|
密封件材?/span> |
耐油石棉、丁腈橡胶、聚四氟乙烯 |
|
防爆级别 |
BS5501: IIA、IIB、IIC |
|
环境温度(℃(/span> |
-30~380 |
-80~450 |
公称压力(MPa(/span> |
0.6~5.0?50Lb~600Lb(/span> |
|
过滤精度(目/in(/span> |
10~300 |
|
三?/strong>Y型蒸汽过滤器主要尺寸9/strong>

公称通径 DN(mm) |
15 |
20 |
25 |
32 |
40 |
50 |
65 |
80 |
100 |
125 |
150 |
200 |
250 |
300 |
350 |
400 |
450 |
500 |
L |
150 |
150 |
160 |
180 |
200 |
220 |
250 |
280 |
320 |
360 |
430 |
485 |
595 |
605 |
715 |
785 |
855 |
900 |
H |
70 |
70 |
80 |
90 |
100 |
130 |
165 |
195 |
230 |
300 |
335 |
420 |
500 |
580 |
640 |
700 |
790 |
875 |
- 推荐产品
- 供应产品
- 产品分类
- J44J角式衬胶截止阀
- F745X遥控浮球阀
- J145X电动遥控阀
- ISG立式管道离心泴/a>
- J641H气动截止阀
- QBY铸铁气动隔膜泴/a>
- QBY衬胶气动隔膜泴/a>
- OX氧气点阀箰/a>
- Z641F气动闸阀
- MP磁力循环泴/a>
- S型玻璃钢离心泴/a>
- Q61F三片式对焊球阀
- 100X遥控浮球阀
- 24DHS排泥阀专用电磁阀
- QBY3-40食品级气动双隔膜泴/a>
- CQB-G高温磁力泴/a>
- ZCZP型中温电磁阀
- HGS07管道阻火?/a>
- J41J衬胶截止阀
- PZL73H链轮对夹式刀型闸阀
- D973H电动对夹式硬密封蝶阀
- G6K41J气动隔膜阀
- ZGB-1波纹阻火?/a>
- ISW卧式管道离心泴/a>
- Z40WAPI低温法兰闸阀
- QBK不锈钢隔膜泵
- CDLF不锈钢立式多级离心泵
- CS47H可调双金属片式蒸汽疏水阀
- 900X紧急关闭阀
- D73H对夹式硬密封蝶阀
- ZCQ型气控电磁阀
- GC锅炉给水离心泴/a>